Температура: -20°~150°
Давление: ≤2.0 МПа
Скорость: ≤15 м/сек
Применяется в таких типах насосов Grundfos: CH, CHI, CHE, CRK, SPK, TP, AP серии. CR, CRN, NK, TP серии. LM (D) / LP (D), NM / NP, DNM / DNP серии.

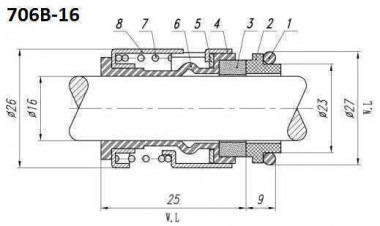
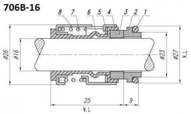
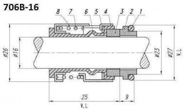
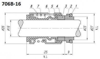
| d1 (H6) | d3 (Max) | d6 (h8) | d7 (±0.5) | L3 | L4 (h8) | |
| R-706B | 12 | 22 | 19 | 23 | 24 | 8.5 |
| R-706B long | 12 | 22 | 19 | 23 | 39 | 8.5 |
| R-706B | 16 | 26 | 23 | 27 | 25 | 9 |
| R-706B long | 16 | 26 | 23 | 27 | 30 | 9 |
Механическое уплотнение R-706B используется в насосах Grundfos:CH/CHI / CHE / CRK / SPK / TP
насосах серии APCR / CRN / NK
насосах серии TP / LM (D) / LP (D) / NM / NP / DNM / DNP.
Стандартный размер вала: 12 мм, 16 мм, 22 мм R-706B-12мм: Артикул Grundfos: 96409293 / 96409263 /
00405096 / 00405097.
R-706B-16мм: Артикул Grundfos: 96409265 / 00485351 / 00425062 / 00425063
/ 00425063.
Насосы Grundfos серий TP, TPD сконструированы специально для перекачивания
рабочих жидкостей в циркуляционных системах с постоянным расходом. Для систем с переменным расходом
используются модели с частотными преобразователями TPE и TPED. Типоразмеры данных насосов
представлены в одинарном исполнении TP, и в сдвоенном TPD.