0 zł
0
Kontakt
0
0
Zapisz się
Zaloguj sie
Mon—Fri 09:00—18:00
0
0 zł
telegram
viber
Wymienniki spiralne
Kwestionariusz doboru wymiennika
Projektowanie cykli technologicznych wykorzystaniem spiralnych wymienników ciepła
Rozmiary wymiennikòw ciepła
Spiralny wymiennik ciepła do chłodzenia oleju po prasowaniu
Schematy zastosowania spiralnego wymiennika ciepła
Typy spiralnych wymienników ciepła
Zdjęcia spiralnych wymienników ciepła
Usługi
Automatyka
Bioetanole, gorzelnie
Recykling DDGS
Dostawa sprzętu i kompletacja
Projektowanie
Prace rozruchowo-regulacyjne
Opracowywanie rozwiązań technicznych
Automatyzacja gorzelni
Wirówki dekanteryjne, separatorowe
Kompleksowe przetwarzanie surowców
Projektowanie gorzelni
Regeneracja rozpuszczalników
Cykle rekuperacyjne jednostki destylacyjni
Budowa gorzelni
Instalacje ultrafiltracyjne
Zastosowanie cykli rekuperacyjnych do zamkniętego ogrzewania kolumny zacieru
Pompa
Pompy do bitumu
Sprzęt dozujący
Pompy zatapialne drenażowo-kałowe
Miksery, mieszadła
Pompy ALFADYNAMICZNE
Pompy DEBEM
Pompy Ex ATEX
Pompy odbioru mocy (WOM) do ciągnika
Pompy do mocznikowe amoniakalnie mieszanek
Pompy do SPS
Pompki do alkoholu
Pompy oleju termalnego
Przykłady zastosowań pomp przemysłowych
Pompy tłokowe promieniowe
Pompy rolkowe Ferroni
Czujniki i elektrody
Uchwyty czujników
Przepływomierze impulsowe
Kontrolery (analizatory cieczy)
Pompy membranowe
Miksery, mieszadła, Miksery ręczne
Pompy dozujące
Pompy perystaltyczne (wężowe)
Pompy tłokowe
Podanie
Zbiorniki, zbiorniki, tace ochronne, zaciski (talerze)
Systemy dozowania do czyszczenia i higieny
Systemy dozowania i kontroli
AD импеллерные насосы
ADH Poziome pompy odśrodkowe
ADM pompy ze sprzęgłem magnetycznym
ADV Pionowe pompy odśrodkowe
RUBY FDA пневматические мембранные насосы
RUBY пневматические мембранные насосы
Akcesoria do pomp
Pompy beczkowe - TR
Pompy pionowe półzanurzalne - IM
Poziome pompy odśrodkowe - MB
Pompy z podwójną membraną - FULLFLOW
Amortyzatory pulsacji - EQUAFLUX
Części zamienne
Kompresor powietrza
Pneumatyczne pompy membranowe DEBEM
Mieszadła i miksery
Pompy z napędem magnetycznym - DM
Pompy perystaltyczne - MP
Pompy higieniczne do żywności FDA - FOODBOXER
Pompy pneumatyczne - CUBIC
Farmaceutyczne pompy sanitarne 3A - SANIBOXER
Pompy odśrodkowe z napędem magnetycznym - KM
Pompy do KAS AGRO 150
Pompy do roztworu mocznika i azotanu amonu DWO
Pompy do UAN GTP
Pompy do KAS SM
Pompy do roztworu mocznika i azotanu amonu
WQ
WQK
Pompa wielostopniowa serii CDLF (przeciwwybuchowy)
Pompy z suchym wirnikiem ze stali nierdzewnej IHG Ex (przeciwwybuchowy)
Wspólny
Pompa do suszenia drewna
Pompy WOM
Pompy zacieru
Pompy do wody
Pompy do bichromatu potasu, sody kaustycznej
Pompy do ugniatania Chunok
Browary
Jedzenie
Destylarnia
Produkcja chemiczna
POMPY TŁOKOWE OSIOWE REGULOWANE NA… 74M…
Nieregulowane promieniowe pompy tłokowe typu HP2
REGULOWANE POMPY TŁOKOWE PROMIENIOWE TYP 50NRR
Nasadki
Ceramiczne kulki
Sito molekularne 3A, 4A, 5A, 13X, Molecular Sieve
Oczyszczacz wody
Dysza luzem (nieregularna)
Zraszacz
Porowata ceramika
Osadzona (regularna) nasadka
Aluminiowe kulki do szlifowania
Wklęsłe wypukłe kulki ceramiczne
Żaroodporne piłki
Kulki obojętne
Ceramiczne porowate kulki
Ceramiczne kulki filtracyjne
Piasek porcelanowy
Kulki z otwartymi otworami do akumulacji ciepła, Open-Hole Heat Storage Ball
Sito molekularne 13X APG
Sito molekularne 13X
Sita molekularne 3A
Sito molekularne 4A
Sito molekularne 5A
Bio-kula Z Gąbką Operating pore Bio Ball
Bio-kula, Bio Ball
Połączenie nasadki Combined Packing
Nasadka do reaktora biofilmowego z ruchomą złożem
Porowata, kulkowata dysza podtrzymująca
Blok filtracyjny o strukturze plastra miodu, PP, Honeycomb Filter Block
Moduł cienkowarstwowy z pochyłą
Elastyczny wypełniacz Elastic Fillers
Nieregularna nasadka ceramiczna
Nieregularna nasadka metalowa
Plastikowa nieregularna nasadka
Zraszacz w kształcie litery S, wypełniacze fal S
Swirl droplet Separator
Metalowy separator mgły Metal Mist Eliminator
Metal Wire Mesh Odmgławiacz Metal Wire Mesh Demister
Zraszacz z blachy falistej w kształcie fali sinusoidalnej ułożonej w szachownicę
Zraszacz z blachy falistej, trapezowy, Trapezoidal Wave Fillers
Zraszacz z blachy falistej, Offset fluted fills
Zraszacz PVC BTSYU01, Marley Cooling Tower fillers
Zraszacz PVC BTSYU02, wieża chłodnicza
Dwukierunkowy wypełniacz, Bi-Direction Wave Fillers
Zraszacz z pofałdowaniem punktowym, Dot-Wave Fillers
Redystrybucja cieczy Liquid Re-Distributor
Separator mgły z tworzywa sztucznego Plastic Mist Eliminator
Odpływ z siatki z tworzywa sztucznego Z Siatki Z Tworzywa Sztucznego
Dozownik cieczy Liquid Distributor
Zraszacz rurowy Tube Settler
Nasadka siatkowa
Podłoże ceramiczne z tlenku glinu
Ceramika o strukturze plastra miodu z tlenku glinu / korundu
Filtr cząstek stałych
Katalizator
Podłoże ceramiczne
Kordierytowy DPF
Filtr cząstek stałych do silników wysokoprężnych
Monolityczny katalizator
Ceramika o strukturze plastra miodu
Podłoże ceramiczne o strukturze plastra miodu
Filtr ceramiczny o strukturze plastra miodu
Filtr cząstek stałych
Nośnik ciepła, Typ T
Nasadka ceramiczna z tektury falistej
Regenerator ceramiczny
Metalowa nasadka siatkówka
Metalowa nasadka z blachy falistej
Nasadka Siedem obrączek
Plastikowa nasadka z blachy falistej
Plastikowa nasadka siatkowa
Uszczelnienia mechaniczne
Uszczelnienia mechaniczne według typu
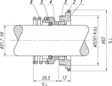
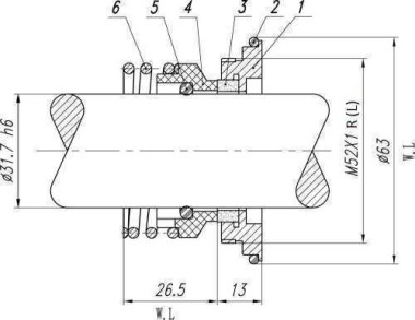
Uszczelnienie mechaniczne pompy
Uszczelnienie wału do ślimaków, mieszalników, przenośników, mieszalników, reaktorów
Uszczelnienie mechaniczne R-101
Uszczelnienie mechaniczne R-102
Uszczelnienie mechaniczne R-102U
Uszczelnienie mechaniczne R-103 / 103A
Uszczelnienie mechaniczne R-104/R-104А
Uszczelnienie mechaniczne R-108
Uszczelnienie mechaniczne R-108U
Uszczelnienie mechaniczne R-109 / 8U
Uszczelnienie mechaniczne R-109B / 8B-1
Uszczelnienie mechaniczne R-10T / 10R
Uszczelnienie mechaniczne R-110
Uszczelnienie mechaniczne R-112
Uszczelnienie mechaniczne R-113
Uszczelnienie mechaniczne R-120 /120P
Uszczelnienie mechaniczne R-124
Uszczelnienie mechaniczne R-125
Uszczelnienie mechaniczne R-128
Uszczelnienie mechaniczne R-128P
Uszczelnienie mechaniczne R-152
Uszczelnienie mechaniczne R-1527
Uszczelnienie mechaniczne R-156
R-1577
Uszczelnienie mechaniczne R-16
Uszczelnienie mechaniczne R-202
Uszczelnienie mechaniczne R-208
Uszczelnienie mechaniczne R-21
Uszczelnienie mechaniczne R-2100
Uszczelnienie mechaniczne R-21UK
Uszczelnienie mechaniczne R-31K
Uszczelnienie mechaniczne R-31U
Uszczelnienie mechaniczne R-4701
Uszczelnienie mechaniczne R-4702
Uszczelnienie mechaniczne R-502B
Uszczelnienie mechaniczne R-560A
Uszczelnienie mechaniczne R-560C
Uszczelnienie mechaniczne R-560D
Uszczelnienie mechaniczne R-58B /59B
Uszczelnienie mechaniczne R-58U / 59U
Uszczelnienie mechaniczne R-6
Uszczelnienie mechaniczne R-6-CH-16
Uszczelnienie mechaniczne R-606
Uszczelnienie mechaniczne R-609
Uszczelnienie mechaniczne R-680
Uszczelnienie mechaniczne R-6A
Uszczelnienie mechaniczne R-6B
Uszczelnienie mechaniczne R-6BG
Uszczelnienie mechaniczne R-6C
Uszczelnienie mechaniczne R-6CF-16
Uszczelnienie mechaniczne R-6CK-16
Uszczelnienie mechaniczne R-6SB / SB
Uszczelnienie mechaniczne R-706A
Uszczelnienie mechaniczne R-706B
Uszczelnienie mechaniczne R-706C
Uszczelnienie mechaniczne R-706D
Uszczelnienie mechaniczne R-706E
Uszczelnienie mechaniczne R-706F
Uszczelnienie mechaniczne R-706H (CR)
Uszczelnienie mechaniczne R-706K
Uszczelnienie mechaniczne R-706L
Uszczelnienie mechaniczne R-706SE
Uszczelnienie mechaniczne R-706SP
Торцевое уплотнение R-706SS
Uszczelnienie mechaniczne R-802
Uszczelnienie mechaniczne R-960
Uszczelnienie mechaniczne R-AL.FM
Uszczelnienie mechaniczne R-AL.LKHd
Uszczelnienie mechaniczne R-AL.LKHf
Uszczelnienie mechaniczne R-AL
Uszczelnienie mechaniczne R-AL.SR
Uszczelnienie mechaniczne R-APV-01
Uszczelnienie mechaniczne R-B151
Uszczelnienie mechaniczne R-BIA
Uszczelnienie mechaniczne R-BT-AR
Uszczelnienie mechaniczne R-BT-FN
Uszczelnienie mechaniczne R-BT-FN.NU
Uszczelnienie mechaniczne R-BT-RN
Uszczelnienie mechaniczne R-BT-RN3/R-BT-RN3.NU
Торцевое уплотнение R-CURC
Uszczelnienie mechaniczne R-FBC
Uszczelnienie mechaniczne R-FBD
Uszczelnienie mechaniczne R-GEA
Uszczelnienie mechaniczne R-H12N
Uszczelnienie mechaniczne R-HG202
Uszczelnienie mechaniczne R-HG204
Uszczelnienie mechaniczne R-HG204B
Uszczelnienie mechaniczne R-HG212
Uszczelnienie mechaniczne R-HJ92N
Uszczelnienie mechaniczne R-HRN
Uszczelnienie mechaniczne R-JB103
Uszczelnienie mechaniczne R-JB104
Uszczelnienie mechaniczne R-LPS
Uszczelnienie mechaniczne R-LW
Uszczelnienie mechaniczne R-LWR-22
Uszczelnienie mechaniczne R-M2N
Uszczelnienie mechaniczne R-M3N
Uszczelnienie mechaniczne R-M74D
Uszczelnienie mechaniczne R-M7N /M74N
Uszczelnienie mechaniczne R-MFL85N
Uszczelnienie mechaniczne R-MG1
Uszczelnienie mechaniczne R-MG12
Uszczelnienie mechaniczne R-MG13
Uszczelnienie mechaniczne R-MG1S20
Uszczelnienie mechaniczne R-T1
Uszczelnienie mechaniczne R-T2
Uszczelnienie mechaniczne R-TS-XE
Uszczelnienie mechaniczne R-TSDC-A03
Uszczelnienie mechaniczne R-TSDC-A04
Uszczelnienie mechaniczne R-TSDC-B01
Uszczelnienie mechaniczne R-TSMB-B07
Uszczelnienie mechaniczne R-TSSC-A01
Uszczelnienie mechaniczne R-TSSC-A04
Uszczelnienie mechaniczne R-TSSC-A05
Uszczelnienie mechaniczne R-TSSC-C03
Uszczelnienie mechaniczne R-TSSP-CO1
Uszczelnienie mechaniczne R-TSSP-FA01
Uszczelnienie mechaniczne R-TSWE
Uszczelnienie mechaniczne WB2
ABS - uszczelnienie mechaniczne
ALFA LAVAL - uszczelnienie mechaniczne
ALLWEILER - uszczelnienie mechaniczne
APV - uszczelnienie mechaniczne
CALPEDA - uszczelnienie mechaniczne
DAB - uszczelnienie mechaniczne
EBARA - uszczelnienie mechaniczne
EMU - uszczelnienie mechaniczne
FLYGT - uszczelnienie mechaniczne
FRISTAM - uszczelnienie mechaniczne
GEA TUCHENHAGEN - uszczelnienie mechaniczne
GOETZE - uszczelnienie mechaniczne
GRUNDFOS - uszczelnienie mechaniczne
GÜCÜM - uszczelnienie mechaniczne
HAIGH - uszczelnienie mechaniczne
HIDROSTAL - uszczelnienie mechaniczne
HILGE - uszczelnienie mechaniczne
INBEAT - uszczelnienie mechaniczne
INOX - uszczelnienie mechaniczne
INOXPA - uszczelnienie mechaniczne
JABSCO - uszczelnienie mechaniczne
JOHNSON - uszczelnienie mechaniczne
KOLMEKS - uszczelnienie mechaniczne
KSB - uszczelnienie mechaniczne
LFP Leszno - uszczelnienie mechaniczne
LOWARA - uszczelnienie mechaniczne
MOUVEX - uszczelnienie mechaniczne
NISSIN - uszczelnienie mechaniczne
PACKO - uszczelnienie mechaniczne
PASCO - uszczelnienie mechaniczne
PEDROLLO - uszczelnienie mechaniczne
PENTAX - uszczelnienia mechaniczne do pomp
POMPETRAVAINI - uszczelnienie mechaniczne
PUMPEX - uszczelnienie mechaniczne
ROBUSHI - uszczelnienie mechaniczne
SAER - uszczelnienie mechaniczne
SALMSON - uszczelnienie mechaniczne
SPERONI - uszczelnienie mechaniczne
SULZER - uszczelnienie mechaniczne
TSURUMI - uszczelnienie mechaniczne
VULCAN - uszczelnienie mechaniczne
WAUKESHA - uszczelnienie mechaniczne
WILO - uszczelnienie mechaniczne
WRIGHT FLOW - uszczelnienie mechaniczne
Statywy
K, KM, KML, KMS, BShM, KM35-32-130, KM50-32-125, KM32-22-120 - uszczelnienie mechaniczne
Urządzenia filtracyjne
Membrana ceramiczna
Membrana organiczna
Membrana ceramiczna
Moduł membranowy ceramiczny
Instalacje laboratoryjne i pilotażowe z membran ceramicznych
Płaska membrana ceramiczna
System filtracji z membran ceramicznych
Instalacje laboratoryjne i pilotażowe z membran or
Membrana organiczna
Moduł membrany tytanu
System filtracji z membran ceramicznych
Wirówki przemysłowe
HAUS Turbo Dmuchawa
Wirówka dekantacyjna
Linia do produkcji oliwy z oliwek
Jednostka mobilna
Separatory odśrodkowe
Prasa śrubowa
Seria H. wysokociśnieniowa
Seria L niskociśnieniowa
Seria M. średniociśnieniowa
Wirówki dekantacyjne DDE zastosowanie w środowisku
Wirówki dekantacyjne DDF przemysł spożywczy
Wirówki dekantacyjne DDI zastosowanie przemysłowe
Butikowa produkcja oliwy z oliwek
Sprzęt pomocniczy
Dekantery do oliwy z oliwek serii V.
Produkcja oleju wytłokowego z serii POMAX
Separatory oliwy z oliwek serii V.
Seria PLUS
Seria PRO
MAXCLEAN BACTERIA
Przemysł mleczarski Seria D.
Aplikacje przemysłowe, seria I
Branża napojów Seria F.
Seria DBA
Seria MAXCLEAN
Seria MAXCREAM
Seria MILKOTUNE
Seria SDE
BTS Engineering
Найдено в категориях:
Uszczelnienie mechaniczne R-109 / 8U
Uszczelnienia mechaniczne według typu
Uszczelnienie mechaniczne R-AL.FM
Uszczelnienie mechaniczne R-AL.LKHd
Uszczelnienie mechaniczne R-AL.LKHf
Uszczelnienie mechaniczne R-AL
Найдено в категориях
Опросный лист
Проектирование технологических циклов с использованием спиральных теплообменников
Размеры спиральных теплообменников
Спиральный теплообменник для охлаждения масла после пресования
Схемы использования спирального теплообменника
Типы спиральных теплообменников
Фото спиральных теплообменников
Автоматизация
Биоэтанольные, спиртовые заводы
Автоматизация спиртовых заводов
Комплексная переработка сырья
Комплексная переработка крахмалсодержащего сырья (кукурузы, пшеницы, сои и т. д.)
Переработка послеспиртовой барды на предприятиях спиртовой промышленности (DDGS, DDG)
Проектирование спиртзавода
Проектирование предприятий по производству биоэтанола производительностью 300-30000 дал/сутки (2,4 - 240 т/сутки) из крахмалосодержащего сырья
Проектирование предприятий по производству биоэтанола производительностью 300-30000 дал/сутки (2,4 - 240 т/сутки) из сахарсодежащего сырья
Проектирование предприятий по производству этилового спирта-ректификата производительностью 300-30000 дал/сутки из крахмалосодержащего сырья
Проектирование предприятий по производству этилового спирта-ректификата производительностью 300-30000 дал/сутки из сахаросодержащего сырья
Строительство спиртзавода
Строительство предприятий по производству биоэтанола производительностью 300-30000 дал/сутки (2,4 - 240 т/сутки) из крахмалосодержащего сырья
Строительство предприятий по производству биоэтанола производительностью 300-30000 дал/сутки (2,4 - 240 т/сутки) из сахарсодержащего сырья
Строительство предприятий по производству этилового спирта-ректификата производительностью 300-30000 дал/сутки из крахмалосодержащего сырья
Строительство предприятий по производству этилового спирта-ректификата производительностью 300-30000 дал/сутки из сахарсодержащего сырья
Ультрафильтрационные установки
Переработка послеспиртовой барды
Поставка оборудования и комплектация
Проектирование
Пуско-наладочные работы
Разработка технических решений
Битумные насосы
Дозирующие оборудование ETATRON
Применение
Насосы для щелочи
Насосы для КАС
Насосы для КАС DWO
Насосы для КАС GTP
Насосы для КАС SM
Примеры применения промышленных насосов
Комунальные
Насосы для воды
Химическое производство
Насос CIP-промывки
Насос для агрессивной жидкости
Насос для гидроксида кальция
Насосы для кислоты
Насосы для соляной кислоты
Насосы для щелочи
Радиально-поршневые насосы
Насосы радиально-поршневые нерегулируемые типа НР2
НАСОС НР2-1250/32
НАСОС НР2-710/32
НАСОС НР2-900/32
Керамические шары Ceramic Ball
Алюминиевые шары для измельчения, Alumina Grinding Balls
Вогнуто-выпуклые керамические шары, Concave-Convex Ceramic Ball
Жаростойкие шары, Refractory Ball
Инертные шары Inert Ball
Керамические пористые шары, Porous Ceramic Ball
Керамические фильтрационные шары, Ceramic Filter Ball
Фарфоровый песок, Porcelain Sand
Шары с открытыми отверстиями для аккумуляции тепла, Open-Hole Heat Storage Ball
Металлический сепаратор тумана Metal Mist Eliminator
Металлический сетчатый каплеуловитель Metal Wire Mesh Demister
Перераспределитель жидкости Liquid Re-Distributor
Молекулярное сито 3A, 4A, 5A, 13X (Molecular Sieve)
Молекулярное сито 13X APG
Молекулярное сито 13X Molecular Sieve
Молекулярное сито 3A Molecular Sieve
Молекулярное сито 4A Molecular Sieve
Молекулярное сито 5A Molecular Sieve
Насадка для очистки воды
Биошар со спонжем Operating pore Bio Ball
Биошар, Bio Ball
Комбинированная насадка Combined Packing
Насадка для биопленочного реактора с подвижным слоем
Пористая шарообразная поддерживающая насадка Poriferous Ball-shaped suspending packing
Сотовый фильтрующий блок, PP, Honeycomb Filter Block
Тонкослойный модуль с наклоном Inclined Plate
Эластичный наполнитель Elastic Fillers
Насыпная нерегулярная насадка
Керамические нерегулярные насадки
Керамическая седловидная насадка Инталокс Intalox Saddles
Керамическая супер-седловидная насадка Инталокс Intalox Super Saddles
Керамические каскадные мини-кольца Cascade Mini-Ring
Керамические кольца Палля Pall Ring
Керамические кольца Рашига Raschig Ring
Керамические кольца с поперечным разрезом Cross-Partition Ring
Металлические нерегулярные насадки
Конъюгированное кольцо Conjugated Ring
Металлические каскадные мини-кольца Cascade Mini-Ring
Металлические кольца МелоРинг (VSP) Mella Ring (VSP)
Металлические кольца Нутер Nutter Ring
Металлические кольца Палля Pall Ring
Металлические кольца Рашига Raschig Ring
Металлические кольца Теллера Teller Ring
Металлические супер кольца Рашига Super Raschig Ring
Седловидная насадка Инталокс Intalox Saddles
Пластиковые нерегулярные насадки
Пластиковая коньюгированная насадка Conjugated Ring
Пластиковая насадка HD/Q Pak
Пластиковая насадка LanPack
Пластиковая насадка NorPack
Пластиковая насадка Q-Pack
Пластиковая насадка Tri-Pak
Пластиковые плоские кольца Flat Ring
Пластиковые каскадные мини-кольца Cascade Mini-Ring
Пластиковые кольца Tellettes
Пластиковые кольца VSP Mella Ring
Пластиковые кольца Бета Beta Ring
Пластиковые кольца Палля Pall Ring
Пластиковые кольца Ралу Ralu Ring
Пластиковые кольца Рашига Raschig Ring
Пластиковые кольца Хейлекс Heilex Ring
Пустотелые многогранные шары Polyhedra Hollow Ball
Седловидная насадка Intalox Saddles
Шары Cover Ball
Шары Игл Igel Ball
Шары пустотелые Plastic Hollow Ball
Шестигранные шары Hexa-shield Solid ball
Оросители
S-образный ороситель, S Wave Fillers
Вихревой каплеуловитель Swirl Droplet Separator
Металлический сепаратор тумана Metal Mist Eliminator
Металлический сетчатый каплеуловитель Metal Wire Mesh Demister
Ороситель из гофрированного листа в форме синусоидальной волны, расположенного в шахматном порядке, Stagger S
Ороситель из гофрированного листа трапецеидальный, Trapezoidal Wave Fillers
Ороситель из гофрированных листов, Offset fluted fills
Ороситель из ПВХ BTSYU01, Marley Cooling Tower fillers
Ороситель из ПВХ BTSYU02, Cooling tower fill
Ороситель с двусторонним направлением, Bi-Direction Wave Fillers
Ороситель с точечными гофрами, Dot-Wave Fillers
Перераспределитель жидкости Liquid Re-Distributor
Пластиковый сепаратор тумана Plastic Mist Eliminator
Пластиковый сетчатый каплеуловитель Plastic Mesh Demister
Распределитель жидкости Liquid Distributor
Трубчатый ороситель Tube Settler
Хордовоя насадка Grid Packing
Структурированная (регулярная) насадка
Tеплоноситель, тип Т T-Type Heat Storage Medium
Керамическая гофрированная насадка Ceramic Corrugate Packing
Керамический регенератор, Ceramic Regenerator
Насадка из гофрированного листа Metal Corrugated Plate Packing
Насадка из семи колец Seven Ring
Пластиковая насадка из гофрированного листа Plastic Corrugated Plate Packing
Пластиковая сетчатая насадка Plastic Knitting Guaze Packing
Торцевые уплотнения по типу
Торцевое уплотнение R-101
Торцевое уплотнение R-102
Торцевое уплотнение R-102U
Торцевое уплотнение R-103/103A
Торцевое уплотнение R-104/R-104А
Торцевое уплотнение R-108
Торцевое уплотнение R-108U
Торцевое уплотнение R-109/8U
Торцевое уплотнение R-109B/8B-1
Торцевое уплотнение R-110
Торцевое уплотнение R-112
Торцевое уплотнение R-113
Торцевое уплотнение R-120/120P
Торцевое уплотнение R-124
Торцевое уплотнение R-125
Торцевое уплотнение R-128
Торцевое уплотнение R-128P
Торцевое уплотнение R-152
Торцевое уплотнение R-1527
Торцевое уплотнение R-156
Торцевое уплотнение R-1577
Торцевое уплотнение R-16
Торцевое уплотнение R-202
Торцевое уплотнение R-208
Торцевое уплотнение R-21
Торцевое уплотнение R-2100
Торцевое уплотнение R-21UK
Торцевое уплотнение R-31K
Торцевое уплотнение R-31U
Торцевое уплотнение R-4701
Торцевое уплотнение R-4702
Торцевое уплотнение R-502B
Торцевое уплотнение R-560C
Торцевое уплотнение R-58B/59B
Торцевое уплотнение R-58U/59U
Торцевое уплотнение R-6
Торцевое уплотнение R-606
Торцевое уплотнение R-609
Торцевое уплотнение R-680
Торцевое уплотнение R-6A
Торцевое уплотнение R-6B
Торцевое уплотнение R-6BG
Торцевое уплотнение R-6C
Торцевое уплотнение R-706A
Торцевое уплотнение R-706B
Торцевое уплотнение R-706C
Торцевое уплотнение R-706D
Торцевое уплотнение R-706E
Торцевое уплотнение R-706F
Торцевое уплотнение R-706H (CR)
Торцевое уплотнение R-706K
Торцевое уплотнение R-706L
Торцевое уплотнение R-706SE
Торцевое уплотнение R-706SP
Торцевое уплотнение R-706SS
Торцевое уплотнение R-802
Торцевое уплотнение R-960
Торцевое уплотнение R-AL.FM
Торцевое уплотнение R-AL.LKHd
Торцевое уплотнение R-AL.LKHf
Торцевое уплотнение R-AL.LKHs
Торцевое уплотнение R-AL.SR
Торцевое уплотнение R-APV-01
Торцевое уплотнение R-B151
Торцевое уплотнение R-BIA
Торцевое уплотнение R-BT-FN
Торцевое уплотнение R-BT-FN.NU
Торцевое уплотнение R-BT-RN
Торцевое уплотнение R-BT-RN3/R-BT-RN3.NU
Торцевое уплотнение R-CURC
Торцевое уплотнение R-FBC
Торцевое уплотнение R-FBD
Торцевое уплотнение R-GEA
Торцевое уплотнение R-H12N
Торцевое уплотнение R-HG202
Торцевое уплотнение R-HG204В
Торцевое уплотнение R-HG212
Торцевое уплотнение R-HJ92N
Торцевое уплотнение R-HRN
Торцевое уплотнение R-JB103
Торцевое уплотнение R-JB104
Торцевое уплотнение R-LPS
Торцевое уплотнение R-LW
Торцевое уплотнение R-LWR-22
Торцевое уплотнение R-M2N
Торцевое уплотнение R-M74D
Торцевое уплотнение R-M7N / M74N
Торцевое уплотнение R-MFL85N
Торцевое уплотнение R-MG1
Торцевое уплотнение R-MG12
Торцевое уплотнение R-MG13
Торцевое уплотнение R-MG1S20
Торцевое уплотнение R-T1
Торцевое уплотнение R-TS-XE
Торцевое уплотнение R-TSWE
Торцевое уплотнение WB2
Торцевое уплотнение для насоса
HIDROSTAL - торцевое уплотнение
Уплотнение вала для шнеков, миксеров, транспортеров, смесителей, реакторов
Керамическая мембрана
Керамические мембраны
Керамический мембранный модуль
Мембранный модуль из нержавеющей стали
Лабораторные и пилотные установки из керамических мембран
Фильтрационная система из керамических мембран
Показать все категории ↓
←
1
...
196
197
198
...
201
→
13713_2.1/4__CAR/SIC__VITON__304__PG
Uszczelnienie pompy R-8U 2.1/4, CAR/SIC, VITON, 304, PG
Cena:
1,892.7 zł
Tylko w przedsprzedaży
-
+
Tylko w przedsprzedaży
13713_2.1/8__CAR/SIC__VITON__304__PG
Uszczelnienie pompy R-8U 2.1/8, CAR/SIC, VITON, 304, PG
Cena:
1,785.5 zł
Tylko w przedsprzedaży
-
+
Tylko w przedsprzedaży
13713_2.3/4__CAR/SIC__VITON__304__PG
Uszczelnienie pompy R-8U 2.3/4, CAR/SIC, VITON, 304, PG
Cena:
3,485.5 zł
Tylko w przedsprzedaży
-
+
Tylko w przedsprzedaży
13713_2.3/8__CAR/SIC__VITON__304__PG
Uszczelnienie pompy R-8U 2.3/8, CAR/SIC, VITON, 304, PG
Cena:
1,999.2 zł
Tylko w przedsprzedaży
-
+
Tylko w przedsprzedaży
13713_2.5/8__CAR/SIC__VITON__304__PG
Uszczelnienie pompy R-8U 2.5/8, CAR/SIC, VITON, 304, PG
Cena:
2,207.9 zł
Tylko w przedsprzedaży
-
+
Tylko w przedsprzedaży
13713_2.7/8__CAR/SIC__VITON__304__PG
Uszczelnienie pompy R-8U 2.7/8, CAR/SIC, VITON, 304, PG
Cena:
3,143.4 zł
Tylko w przedsprzedaży
-
+
Tylko w przedsprzedaży
13713_3__CAR/SIC__VITON__304__PG
Uszczelnienie pompy R-8U 3, CAR/SIC, VITON, 304, PG
Cena:
3,276.9 zł
Tylko w przedsprzedaży
-
+
Tylko w przedsprzedaży
13713_3.1/2__CAR/SIC__VITON__304__PG
Uszczelnienie pompy R-8U 3.1/2, CAR/SIC, VITON, 304, PG
Cena:
3,822.4 zł
Tylko w przedsprzedaży
-
+
Tylko w przedsprzedaży
13713_3.1/4__CAR/SIC__VITON__304__PG
Uszczelnienie pompy R-8U 3.1/4, CAR/SIC, VITON, 304, PG
Cena:
3,549.6 zł
Tylko w przedsprzedaży
-
+
Tylko w przedsprzedaży
13713_3.1/8__CAR/SIC__VITON__304__PG
Uszczelnienie pompy R-8U 3.1/8, CAR/SIC, VITON, 304, PG
Cena:
3,416.1 zł
Tylko w przedsprzedaży
-
+
Tylko w przedsprzedaży
13713_3.3/4__CAR/SIC__VITON__304__PG
Uszczelnienie pompy R-8U 3.3/4, CAR/SIC, VITON, 304, PG
Cena:
4,094.9 zł
Tylko w przedsprzedaży
-
+
Tylko w przedsprzedaży
13713_3.3/8__CAR/SIC__VITON__304__PG
Uszczelnienie pompy R-8U 3.3/8, CAR/SIC, VITON, 304, PG
Cena:
3,688.6 zł
Tylko w przedsprzedaży
-
+
Tylko w przedsprzedaży
13713_3.5/8__CAR/SIC__VITON__304__PG
Uszczelnienie pompy R-8U 3.5/8, CAR/SIC, VITON, 304, PG
Cena:
3,961.5 zł
Tylko w przedsprzedaży
-
+
Tylko w przedsprzedaży
13713_3.7/8__CAR/SIC__VITON__304__PG
Uszczelnienie pompy R-8U 3.7/8, CAR/SIC, VITON, 304, PG
Cena:
4,233.9 zł
Tylko w przedsprzedaży
-
+
Tylko w przedsprzedaży
13713_3/4__CAR/SIC__VITON__304__PG
Uszczelnienie pompy R-8U 3/4, CAR/SIC, VITON, 304, PG
Cena:
502.6 zł
Tylko w przedsprzedaży
-
+
Tylko w przedsprzedaży
13713_4__CAR/SIC__VITON__304__PG
Uszczelnienie pompy R-8U 4, CAR/SIC, VITON, 304, PG
Cena:
4,372.8 zł
Tylko w przedsprzedaży
-
+
Tylko w przedsprzedaży
13713_7/8__CAR/SIC__VITON__304__PG
Uszczelnienie pompy R-8U 7/8, CAR/SIC, VITON, 304, PG
Cena:
663 zł
Tylko w przedsprzedaży
-
+
Tylko w przedsprzedaży
14560_32__L__CAR/SIC__VITON__304
Uszczelnienie pompy Alfa Laval R-AL 32, L, CAR/SIC, VITON, 304
Cena:
484.3 zł
Tylko w przedsprzedaży
-
+
Tylko w przedsprzedaży
14560_32__R__CAR/SIC__EPDM__316
Uszczelnienie pompy Alfa Laval R-AL 32, R, CAR/SIC, EPDM, 316
Cena:
440.5 zł
Tylko w przedsprzedaży
-
+
Tylko w przedsprzedaży
19006_22__CAR/SIC__EPDM__304
Uszczelnienie pompy Alfa Laval R-AL.FM 22, CAR/SIC, EPDM, 304
Cena:
440.6 zł
Tylko w przedsprzedaży
-
+
Tylko w przedsprzedaży
19006_27__CAR/SIC__EPDM__304
Uszczelnienie pompy Alfa Laval R-AL.FM 27, CAR/SIC, EPDM, 304
Cena:
537 zł
Tylko w przedsprzedaży
-
+
Tylko w przedsprzedaży
19007_32__CAR/SIC__EPDM__304
Uszczelnienie pompy Alfa Laval R-AL.LKHd 32, CAR/SIC, EPDM, 304
Cena:
643.4 zł
Tylko w przedsprzedaży
-
+
Tylko w przedsprzedaży
19007_32__SIC/SIC/SIC/SIC__VITON__316
Uszczelnienie pompy Alfa Laval R-AL.LKHd 32, SIC/SIC/SIC/SIC, VITON, 316
Cena:
772 zł
Tylko w przedsprzedaży
-
+
Tylko w przedsprzedaży
19007_42__CAR/SIC__EPDM__304
Uszczelnienie pompy Alfa Laval R-AL.LKHd 42, CAR/SIC, EPDM, 304
Cena:
850.2 zł
Tylko w przedsprzedaży
-
+
Tylko w przedsprzedaży
19008_32__CAR/SIC__EPDM__304
Uszczelnienie pompy Alfa Laval R-AL.LKHf 32, CAR/SIC, EPDM, 304
Cena:
676.3 zł
Tylko w przedsprzedaży
-
+
Tylko w przedsprzedaży
19008_32__SIC/SIC__EPDM__316
Uszczelnienie pompy Alfa Laval R-AL.LKHf 32, SIC/SIC, EPDM, 316
Cena:
811.5 zł
Tylko w przedsprzedaży
-
+
Tylko w przedsprzedaży
19008_32__SIC/SIC__VITON__316
Uszczelnienie pompy Alfa Laval R-AL.LKHf 32, SIC/SIC, VITON, 316
Cena:
676.7 zł
Tylko w przedsprzedaży
-
+
Tylko w przedsprzedaży
19008_42__CAR/SIC__EPDM__304
Uszczelnienie pompy Alfa Laval R-AL.LKHf 42, CAR/SIC, EPDM, 304
Cena:
869.5 zł
Tylko w przedsprzedaży
-
+
Tylko w przedsprzedaży
19005_32__CAR/SIC__EPDM__304
Uszczelnienie pompy Alfa Laval R-AL.LKHs 32, CAR/SIC, EPDM, 304
Cena:
450.2 zł
Tylko w przedsprzedaży
-
+
Tylko w przedsprzedaży
19005_32__SIC/SIC__EPDM__316
Uszczelnienie pompy Alfa Laval R-AL.LKHs 32, SIC/SIC, EPDM, 316
Cena:
540.3 zł
Tylko w przedsprzedaży
-
+
Tylko w przedsprzedaży
Show
jeszcze
30
from filter count
102
←
1
...
196
197
198
...
201
→
0
Language
Categories
Wymienniki spiralne
Все товары категории
Kwestionariusz doboru wymiennika
Projektowanie cykli technologicznych wykorzystaniem spiralnych wymienników ciepła
Rozmiary wymiennikòw ciepła
Spiralny wymiennik ciepła do chłodzenia oleju po prasowaniu
Schematy zastosowania spiralnego wymiennika ciepła
Typy spiralnych wymienników ciepła
Zdjęcia spiralnych wymienników ciepła
Usługi
Все товары категории
Automatyka
Bioetanole, gorzelnie
Все товары категории
Automatyzacja gorzelni
Wirówki dekanteryjne, separatorowe
Kompleksowe przetwarzanie surowców
Projektowanie gorzelni
Regeneracja rozpuszczalników
Cykle rekuperacyjne jednostki destylacyjni
Budowa gorzelni
Instalacje ultrafiltracyjne
Recykling DDGS
Dostawa sprzętu i kompletacja
Projektowanie
Prace rozruchowo-regulacyjne
Opracowywanie rozwiązań technicznych
Все товары категории
Zastosowanie cykli rekuperacyjnych do zamkniętego ogrzewania kolumny zacieru
Pompa
Все товары категории
Pompy do bitumu
Sprzęt dozujący
Все товары категории
Czujniki i elektrody
Uchwyty czujników
Przepływomierze impulsowe
Kontrolery (analizatory cieczy)
Pompy membranowe
Miksery, mieszadła, Miksery ręczne
Pompy dozujące
Pompy perystaltyczne (wężowe)
Pompy tłokowe
Podanie
Zbiorniki, zbiorniki, tace ochronne, zaciski (talerze)
Systemy dozowania do czyszczenia i higieny
Systemy dozowania i kontroli
Pompy zatapialne drenażowo-kałowe
Miksery, mieszadła
Pompy ALFADYNAMICZNE
Все товары категории
AD импеллерные насосы
ADH Poziome pompy odśrodkowe
ADM pompy ze sprzęgłem magnetycznym
ADV Pionowe pompy odśrodkowe
RUBY FDA пневматические мембранные насосы
RUBY пневматические мембранные насосы
Pompy DEBEM
Все товары категории
Akcesoria do pomp
Pompy beczkowe - TR
Pompy pionowe półzanurzalne - IM
Poziome pompy odśrodkowe - MB
Pompy z podwójną membraną - FULLFLOW
Amortyzatory pulsacji - EQUAFLUX
Części zamienne
Kompresor powietrza
Pneumatyczne pompy membranowe DEBEM
Mieszadła i miksery
Pompy z napędem magnetycznym - DM
Pompy perystaltyczne - MP
Pompy higieniczne do żywności FDA - FOODBOXER
Pompy pneumatyczne - CUBIC
Farmaceutyczne pompy sanitarne 3A - SANIBOXER
Pompy odśrodkowe z napędem magnetycznym - KM
Pompy Ex ATEX
Pompy odbioru mocy (WOM) do ciągnika
Pompy do mocznikowe amoniakalnie mieszanek
Все товары категории
Pompy do KAS AGRO 150
Pompy do roztworu mocznika i azotanu amonu DWO
Pompy do UAN GTP
Pompy do KAS SM
Pompy do roztworu mocznika i azotanu amonu
Pompy do SPS
Все товары категории
WQ
WQK
Pompki do alkoholu
Все товары категории
Pompa wielostopniowa serii CDLF (przeciwwybuchowy)
Pompy z suchym wirnikiem ze stali nierdzewnej IHG Ex (przeciwwybuchowy)
Pompy oleju termalnego
Przykłady zastosowań pomp przemysłowych
Все товары категории
Wspólny
Pompa do suszenia drewna
Pompy WOM
Pompy zacieru
Pompy do wody
Pompy do bichromatu potasu, sody kaustycznej
Pompy do ugniatania Chunok
Browary
Jedzenie
Destylarnia
Produkcja chemiczna
Pompy tłokowe promieniowe
Все товары категории
POMPY TŁOKOWE OSIOWE REGULOWANE NA… 74M…
Nieregulowane promieniowe pompy tłokowe typu HP2
REGULOWANE POMPY TŁOKOWE PROMIENIOWE TYP 50NRR
Pompy rolkowe Ferroni
Nasadki
Все товары категории
Ceramiczne kulki
Все товары категории
Aluminiowe kulki do szlifowania
Wklęsłe wypukłe kulki ceramiczne
Żaroodporne piłki
Kulki obojętne
Ceramiczne porowate kulki
Ceramiczne kulki filtracyjne
Piasek porcelanowy
Kulki z otwartymi otworami do akumulacji ciepła, Open-Hole Heat Storage Ball
Sito molekularne 3A, 4A, 5A, 13X, Molecular Sieve
Все товары категории
Sito molekularne 13X APG
Sito molekularne 13X
Sita molekularne 3A
Sito molekularne 4A
Sito molekularne 5A
Oczyszczacz wody
Все товары категории
Bio-kula Z Gąbką Operating pore Bio Ball
Bio-kula, Bio Ball
Połączenie nasadki Combined Packing
Nasadka do reaktora biofilmowego z ruchomą złożem
Porowata, kulkowata dysza podtrzymująca
Blok filtracyjny o strukturze plastra miodu, PP, Honeycomb Filter Block
Moduł cienkowarstwowy z pochyłą
Elastyczny wypełniacz Elastic Fillers
Dysza luzem (nieregularna)
Все товары категории
Nieregularna nasadka ceramiczna
Nieregularna nasadka metalowa
Plastikowa nieregularna nasadka
Zraszacz
Все товары категории
Zraszacz w kształcie litery S, wypełniacze fal S
Swirl droplet Separator
Metalowy separator mgły Metal Mist Eliminator
Metal Wire Mesh Odmgławiacz Metal Wire Mesh Demister
Zraszacz z blachy falistej w kształcie fali sinusoidalnej ułożonej w szachownicę
Zraszacz z blachy falistej, trapezowy, Trapezoidal Wave Fillers
Zraszacz z blachy falistej, Offset fluted fills
Zraszacz PVC BTSYU01, Marley Cooling Tower fillers
Zraszacz PVC BTSYU02, wieża chłodnicza
Dwukierunkowy wypełniacz, Bi-Direction Wave Fillers
Zraszacz z pofałdowaniem punktowym, Dot-Wave Fillers
Redystrybucja cieczy Liquid Re-Distributor
Separator mgły z tworzywa sztucznego Plastic Mist Eliminator
Odpływ z siatki z tworzywa sztucznego Z Siatki Z Tworzywa Sztucznego
Dozownik cieczy Liquid Distributor
Zraszacz rurowy Tube Settler
Nasadka siatkowa
Porowata ceramika
Все товары категории
Podłoże ceramiczne z tlenku glinu
Ceramika o strukturze plastra miodu z tlenku glinu / korundu
Filtr cząstek stałych
Katalizator
Podłoże ceramiczne
Kordierytowy DPF
Filtr cząstek stałych do silników wysokoprężnych
Monolityczny katalizator
Ceramika o strukturze plastra miodu
Podłoże ceramiczne o strukturze plastra miodu
Filtr ceramiczny o strukturze plastra miodu
Filtr cząstek stałych
Osadzona (regularna) nasadka
Все товары категории
Nośnik ciepła, Typ T
Nasadka ceramiczna z tektury falistej
Regenerator ceramiczny
Metalowa nasadka siatkówka
Metalowa nasadka z blachy falistej
Nasadka Siedem obrączek
Plastikowa nasadka z blachy falistej
Plastikowa nasadka siatkowa
Uszczelnienia mechaniczne
Все товары категории
Uszczelnienia mechaniczne według typu
Все товары категории
Uszczelnienie mechaniczne R-101
Uszczelnienie mechaniczne R-102
Uszczelnienie mechaniczne R-102U
Uszczelnienie mechaniczne R-103 / 103A
Uszczelnienie mechaniczne R-104/R-104А
Uszczelnienie mechaniczne R-108
Uszczelnienie mechaniczne R-108U
Uszczelnienie mechaniczne R-109 / 8U
Uszczelnienie mechaniczne R-109B / 8B-1
Uszczelnienie mechaniczne R-10T / 10R
Uszczelnienie mechaniczne R-110
Uszczelnienie mechaniczne R-112
Uszczelnienie mechaniczne R-113
Uszczelnienie mechaniczne R-120 /120P
Uszczelnienie mechaniczne R-124
Uszczelnienie mechaniczne R-125
Uszczelnienie mechaniczne R-128
Uszczelnienie mechaniczne R-128P
Uszczelnienie mechaniczne R-152
Uszczelnienie mechaniczne R-1527
Uszczelnienie mechaniczne R-156
R-1577
Uszczelnienie mechaniczne R-16
Uszczelnienie mechaniczne R-202
Uszczelnienie mechaniczne R-208
Uszczelnienie mechaniczne R-21
Uszczelnienie mechaniczne R-2100
Uszczelnienie mechaniczne R-21UK
Uszczelnienie mechaniczne R-31K
Uszczelnienie mechaniczne R-31U
Uszczelnienie mechaniczne R-4701
Uszczelnienie mechaniczne R-4702
Uszczelnienie mechaniczne R-502B
Uszczelnienie mechaniczne R-560A
Uszczelnienie mechaniczne R-560C
Uszczelnienie mechaniczne R-560D
Uszczelnienie mechaniczne R-58B /59B
Uszczelnienie mechaniczne R-58U / 59U
Uszczelnienie mechaniczne R-6
Uszczelnienie mechaniczne R-6-CH-16
Uszczelnienie mechaniczne R-606
Uszczelnienie mechaniczne R-609
Uszczelnienie mechaniczne R-680
Uszczelnienie mechaniczne R-6A
Uszczelnienie mechaniczne R-6B
Uszczelnienie mechaniczne R-6BG
Uszczelnienie mechaniczne R-6C
Uszczelnienie mechaniczne R-6CF-16
Uszczelnienie mechaniczne R-6CK-16
Uszczelnienie mechaniczne R-6SB / SB
Uszczelnienie mechaniczne R-706A
Uszczelnienie mechaniczne R-706B
Uszczelnienie mechaniczne R-706C
Uszczelnienie mechaniczne R-706D
Uszczelnienie mechaniczne R-706E
Uszczelnienie mechaniczne R-706F
Uszczelnienie mechaniczne R-706H (CR)
Uszczelnienie mechaniczne R-706K
Uszczelnienie mechaniczne R-706L
Uszczelnienie mechaniczne R-706SE
Uszczelnienie mechaniczne R-706SP
Торцевое уплотнение R-706SS
Uszczelnienie mechaniczne R-802
Uszczelnienie mechaniczne R-960
Uszczelnienie mechaniczne R-AL.FM
Uszczelnienie mechaniczne R-AL.LKHd
Uszczelnienie mechaniczne R-AL.LKHf
Uszczelnienie mechaniczne R-AL
Uszczelnienie mechaniczne R-AL.SR
Uszczelnienie mechaniczne R-APV-01
Uszczelnienie mechaniczne R-B151
Uszczelnienie mechaniczne R-BIA
Uszczelnienie mechaniczne R-BT-AR
Uszczelnienie mechaniczne R-BT-FN
Uszczelnienie mechaniczne R-BT-FN.NU
Uszczelnienie mechaniczne R-BT-RN
Uszczelnienie mechaniczne R-BT-RN3/R-BT-RN3.NU
Торцевое уплотнение R-CURC
Uszczelnienie mechaniczne R-FBC
Uszczelnienie mechaniczne R-FBD
Uszczelnienie mechaniczne R-GEA
Uszczelnienie mechaniczne R-H12N
Uszczelnienie mechaniczne R-HG202
Uszczelnienie mechaniczne R-HG204
Uszczelnienie mechaniczne R-HG204B
Uszczelnienie mechaniczne R-HG212
Uszczelnienie mechaniczne R-HJ92N
Uszczelnienie mechaniczne R-HRN
Uszczelnienie mechaniczne R-JB103
Uszczelnienie mechaniczne R-JB104
Uszczelnienie mechaniczne R-LPS
Uszczelnienie mechaniczne R-LW
Uszczelnienie mechaniczne R-LWR-22
Uszczelnienie mechaniczne R-M2N
Uszczelnienie mechaniczne R-M3N
Uszczelnienie mechaniczne R-M74D
Uszczelnienie mechaniczne R-M7N /M74N
Uszczelnienie mechaniczne R-MFL85N
Uszczelnienie mechaniczne R-MG1
Uszczelnienie mechaniczne R-MG12
Uszczelnienie mechaniczne R-MG13
Uszczelnienie mechaniczne R-MG1S20
Uszczelnienie mechaniczne R-T1
Uszczelnienie mechaniczne R-T2
Uszczelnienie mechaniczne R-TS-XE
Uszczelnienie mechaniczne R-TSDC-A03
Uszczelnienie mechaniczne R-TSDC-A04
Uszczelnienie mechaniczne R-TSDC-B01
Uszczelnienie mechaniczne R-TSMB-B07
Uszczelnienie mechaniczne R-TSSC-A01
Uszczelnienie mechaniczne R-TSSC-A04
Uszczelnienie mechaniczne R-TSSC-A05
Uszczelnienie mechaniczne R-TSSC-C03
Uszczelnienie mechaniczne R-TSSP-CO1
Uszczelnienie mechaniczne R-TSSP-FA01
Uszczelnienie mechaniczne R-TSWE
Uszczelnienie mechaniczne WB2
Uszczelnienie mechaniczne pompy
Все товары категории
ABS - uszczelnienie mechaniczne
ALFA LAVAL - uszczelnienie mechaniczne
ALLWEILER - uszczelnienie mechaniczne
APV - uszczelnienie mechaniczne
CALPEDA - uszczelnienie mechaniczne
DAB - uszczelnienie mechaniczne
EBARA - uszczelnienie mechaniczne
EMU - uszczelnienie mechaniczne
FLYGT - uszczelnienie mechaniczne
FRISTAM - uszczelnienie mechaniczne
GEA TUCHENHAGEN - uszczelnienie mechaniczne
GOETZE - uszczelnienie mechaniczne
GRUNDFOS - uszczelnienie mechaniczne
GÜCÜM - uszczelnienie mechaniczne
HAIGH - uszczelnienie mechaniczne
HIDROSTAL - uszczelnienie mechaniczne
HILGE - uszczelnienie mechaniczne
INBEAT - uszczelnienie mechaniczne
INOX - uszczelnienie mechaniczne
INOXPA - uszczelnienie mechaniczne
JABSCO - uszczelnienie mechaniczne
JOHNSON - uszczelnienie mechaniczne
KOLMEKS - uszczelnienie mechaniczne
KSB - uszczelnienie mechaniczne
LFP Leszno - uszczelnienie mechaniczne
LOWARA - uszczelnienie mechaniczne
MOUVEX - uszczelnienie mechaniczne
NISSIN - uszczelnienie mechaniczne
PACKO - uszczelnienie mechaniczne
PASCO - uszczelnienie mechaniczne
PEDROLLO - uszczelnienie mechaniczne
PENTAX - uszczelnienia mechaniczne do pomp
POMPETRAVAINI - uszczelnienie mechaniczne
PUMPEX - uszczelnienie mechaniczne
ROBUSHI - uszczelnienie mechaniczne
SAER - uszczelnienie mechaniczne
SALMSON - uszczelnienie mechaniczne
SPERONI - uszczelnienie mechaniczne
SULZER - uszczelnienie mechaniczne
TSURUMI - uszczelnienie mechaniczne
VULCAN - uszczelnienie mechaniczne
WAUKESHA - uszczelnienie mechaniczne
WILO - uszczelnienie mechaniczne
WRIGHT FLOW - uszczelnienie mechaniczne
Statywy
K, KM, KML, KMS, BShM, KM35-32-130, KM50-32-125, KM32-22-120 - uszczelnienie mechaniczne
Uszczelnienie wału do ślimaków, mieszalników, przenośników, mieszalników, reaktorów
Urządzenia filtracyjne
Все товары категории
Membrana ceramiczna
Все товары категории
Membrana ceramiczna
Moduł membranowy ceramiczny
Instalacje laboratoryjne i pilotażowe z membran ceramicznych
Płaska membrana ceramiczna
System filtracji z membran ceramicznych
Membrana organiczna
Все товары категории
Instalacje laboratoryjne i pilotażowe z membran or
Membrana organiczna
Moduł membrany tytanu
System filtracji z membran ceramicznych
Wirówki przemysłowe
Все товары категории
HAUS Turbo Dmuchawa
Все товары категории
Seria H. wysokociśnieniowa
Seria L niskociśnieniowa
Seria M. średniociśnieniowa
Wirówka dekantacyjna
Все товары категории
Wirówki dekantacyjne DDE zastosowanie w środowisku
Wirówki dekantacyjne DDF przemysł spożywczy
Wirówki dekantacyjne DDI zastosowanie przemysłowe
Linia do produkcji oliwy z oliwek
Все товары категории
Butikowa produkcja oliwy z oliwek
Sprzęt pomocniczy
Dekantery do oliwy z oliwek serii V.
Produkcja oleju wytłokowego z serii POMAX
Separatory oliwy z oliwek serii V.
Seria PLUS
Seria PRO
Jednostka mobilna
Separatory odśrodkowe
Все товары категории
MAXCLEAN BACTERIA
Przemysł mleczarski Seria D.
Aplikacje przemysłowe, seria I
Branża napojów Seria F.
Seria DBA
Seria MAXCLEAN
Seria MAXCREAM
Seria MILKOTUNE
Prasa śrubowa
Все товары категории
Seria SDE
SP-Teploobmen
+7 929 510-01-36
Mon—Fri 09:00—18:00
info@sp-teploobmen.ru
Favorites (
0
)
Compare (
0
)
My account
Zapisz się
Zaloguj sie
Information
Kontakt